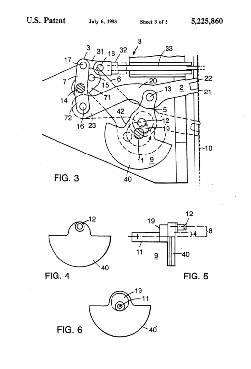
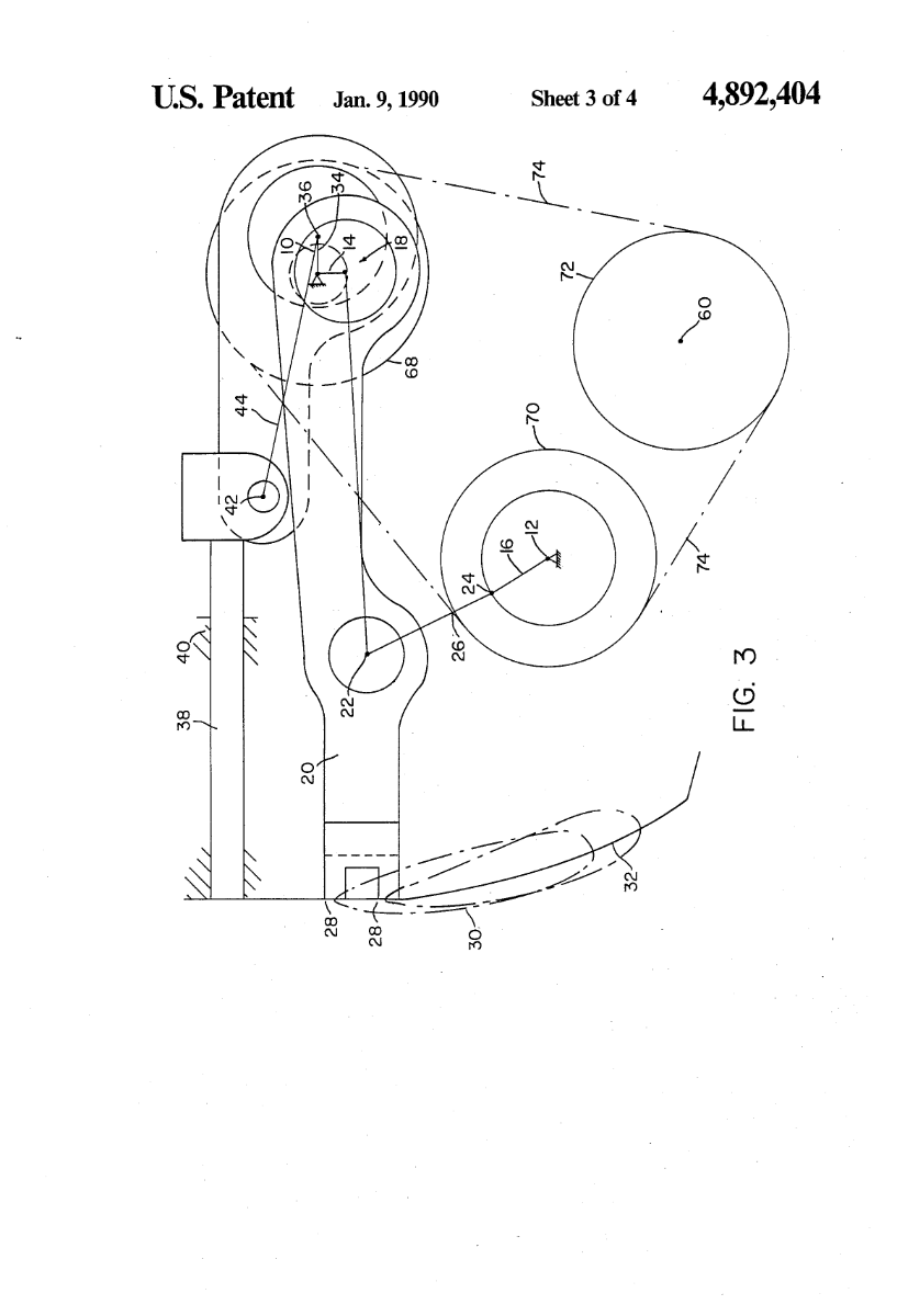
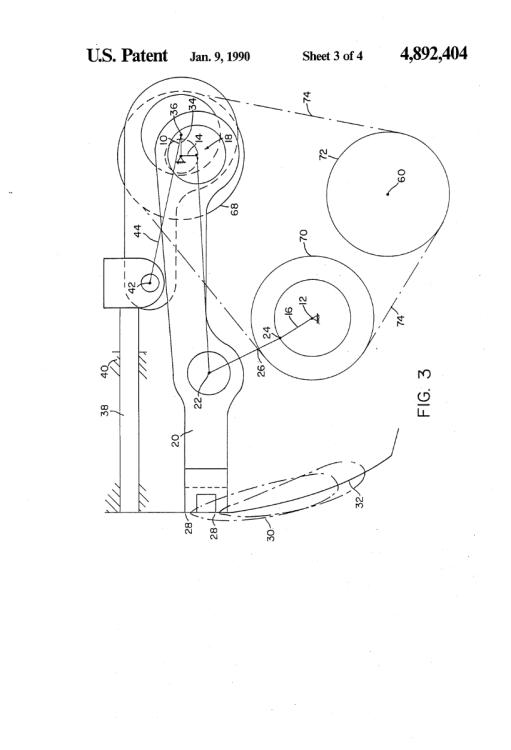
Gergo Gosztolya Posted February 22 Posted February 22 Hi! I've been working on reverse engineering basically any Arri movement after the 535 using only online resources. Needless to say, it's not the easiest thing due to the shortage of information on the internals of the Arriflex / Arricam movement mechanisms. The best I could find were a few disassembly pictures from https://www.cinefacilities.com, and two patents for intermittent movement mechanisms from Arri (US4892404A and US5225860A) of which I've attached pictures, and, while lots of things on these diagrams do match up with what can be seen in Arri factory tour, and "how it's made" videos, many things are contradictory. After yet another day of looking for any pictures / repair documentation I might have missed (to no results), I decided what the hell, I may as well just ask. If anyone here already has some pictures or videos of the internals of any Arri movement, can you please send it here? I'm not asking anyone to create new material just to educate some stranger, but if you already have something that might be useful, I would really appreciate it. Thank you in advance for the help!
Premium Member Tyler Purcell Posted February 23 Premium Member Posted February 23 The service manual pictures are horrible, mostly black and white and of course photocopied, you really don't get anything from them honestly. I have plenty of 16mm format camera movements in pieces, but not many 35mm because unless there is something wrong, the Arricam/Moviecam multi-link movements don't need much maintenance outside of lube. So it's super rare to do full rebuilds on them unless you're a rental house. Even then, working with one of the top techs, I only did 2 full rebuilds in a year and one of them was due to the camera dropping on the door. I didn't take pictures. With 16mm cameras, were are doing rebuilds constantly, mostly SR's because they are plain bearing and without ANY lube can wear improperly.
Geffen Avraham Posted February 23 Posted February 23 what are the link bearings in a multilink 35mm movement?
Premium Member Matt Figler Posted February 24 Premium Member Posted February 24 Having seen some of the actual technical drawings at Arri from more modern cameras, I can tell you they do exist in physical form, but they are massive table-sized exploded diagrams and they keep them pretty close to the vest.
Recommended Posts
Create an account or sign in to comment
You need to be a member in order to leave a comment
Create an account
Sign up for a new account in our community. It's easy!
Register a new accountSign in
Already have an account? Sign in here.
Sign In Now